|
風電企業
來源:光伏頭條
時間:2026-03-17
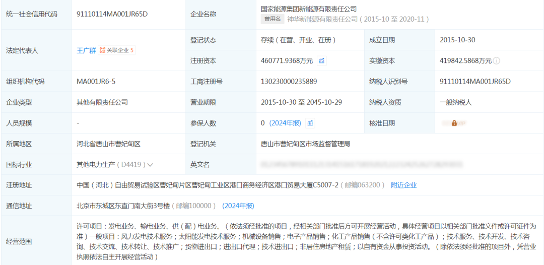
光伏頭條獲悉,企查查顯示,3月11日,國家能源集團新能源有限責任公司發生工商變更,注冊資本由約42億人民幣增至約46.1億人民幣,增資4.1億元。

資料顯示,國家能源集團新能源有限責任公司成立于2015年10月30日,注冊地位于中國(河北)自由貿易試驗區曹妃甸片區曹妃甸工業區港口商務經濟區,法定代表人為王廣群。

經營范圍包括許可項目:發電業務、輸電業務、供(配)電業務。(依法須經批準的項目,經相關部門批準后方可開展經營活動,具體經營項目以相關部門批準文件或許可證件為準)一般項目:風力發電技術服務;太陽能發電技術服務等。
來源:企查查
國際風力發電網聲明:本文僅代表作者本人觀點,與國際風力發電網無關,文章內容僅供參考。凡注明“來源:國際風力發電網”的所有作品,版權均屬于國際風力發電網,轉載時請署名來源。
本網轉載自合作媒體或其它網站的信息,登載此文出于傳遞更多信息之目的,并不意味著贊同其觀點或證實其描述。如因作品內容、版權和其它問題請及時與本網聯系。

四局裝備 2天前
云南省電力設計院 3天前
中車永濟電機 3天前
永福股份 2026-03-17
中國能建廣東火電 2026-03-17
蒼南縣人民政府 2026-03-17
圖片正在生成中...