|
風電項目
來源:風電頭條
時間:2025-12-01
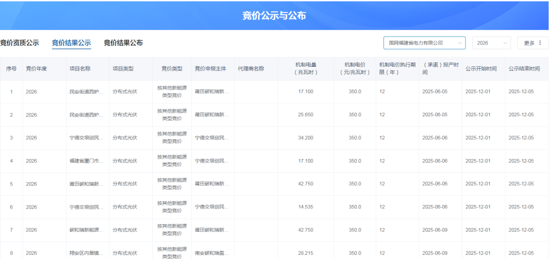
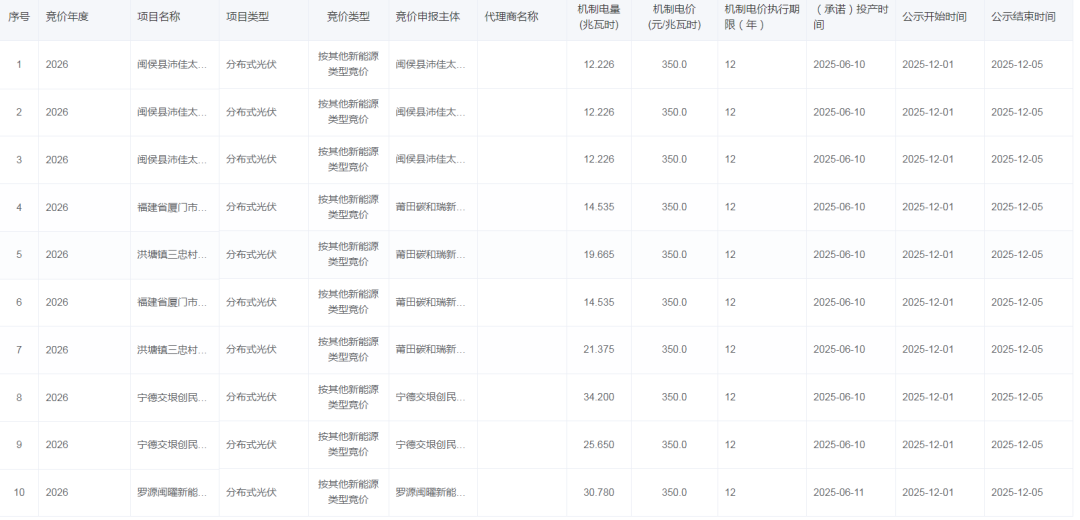
風電頭條獲悉,12月1日,國網新能源云公示福建2026年度增量新能源項目機制電價競價結果。
根據公示結果,2026年按海上光伏競價項目競價出清結果:機制電量規模 1596912.011 兆瓦時,機制電價水平388.0 元/兆瓦時,項目 10 個;按其他新能源類型競價項目竟價出清結果:機制電量規模 661291.372 兆瓦時,機制電價水平 350.0 元/兆瓦時,項目 6294 個。
根據此前福建發改委文件,本次競價主體項目要求2025年6月1日(含)至2026年12月31日(含)期間已全容量并網投產或計劃全容量并網投產、且未納入過機制執行范圍,不包括2025年1月27日(不含)前競爭性配置的海上風電項目。分布式新能源項目可以委托競價代理商參與競價。
競價組織分類區分海上光伏、其他新能源兩種技術類型。海上光伏競價場次有效申報項目少于5個(不含),不開展出清。從本次起算,有效出清的海上光伏單獨分類競價原則上不超過3次。
機制電量總規模46.3億千瓦時。其中海上光伏14.5億千瓦時,其他新能源31.8億千瓦時。
申報充足率125%,單個項目電量申報上限為90%,執行期限12年。
競價上下限:海上光伏上限為393.2元/兆瓦時,其他新能源上限為357.0元/兆瓦時;下限統一為160.0元/兆瓦時。
項目如下:


(更多項目請前往新能源云查看)
來源:新能源云
國際風力發電網聲明:本文僅代表作者本人觀點,與國際風力發電網無關,文章內容僅供參考。凡注明“來源:國際風力發電網”的所有作品,版權均屬于國際風力發電網,轉載時請署名來源。
本網轉載自合作媒體或其它網站的信息,登載此文出于傳遞更多信息之目的,并不意味著贊同其觀點或證實其描述。如因作品內容、版權和其它問題請及時與本網聯系。

江蘇省國信集團 5小時前
華能陜西發電有限公司 5小時前
內蒙古電力勘測設計院 1天前
華能清潔能源研究院 1天前
西北電建三公司 1天前
廣州打撈局 1天前
圖片正在生成中...